米哈游最有权力的八个人

谁在退,谁在上,还真不清楚

米哈游的一举一动,都牵动着玩家们的心。

    

近日,上海米哈游网络科技股份有限公司发生工商变更,蔡浩宇卸任法人和董事长,交由刘伟接任。同时,公司的董事与监事也一并发生了变动。

   

紧接着,各种小道消息满天飞。有说蔡浩宇打算退居二线享受生活的,也有说他已完成移民要润往国外的,甚至还有阴谋论者认定蔡浩宇与大伟哥不和,已在内斗中败下阵来。

     

对此,米哈游做出回应称,本次变动是为了适应公司发展需要,蔡浩宇将投入更多的精力在前沿科技的研究与应用、新项目研发,以及串联国内外研发资源上。同时要指出的是,本次新上任的董事监事也并非外部空降,而是来自内部的公司元老。

   

01 米哈游纸面上最有权力的八个人

       

关于蔡浩宇卸任,可以说是意料之中。一直以来,米哈游三位创始人就有比较明确的分工,蔡浩宇埋头新品研发,罗宇皓主抓现有产品,大伟哥负责对外事务和日常管理。本次变更,不过是进一步细化和明确了这一分工形式。

     

其中,蔡浩宇作为米家游戏的灵魂人物,他对内容的把控能力以及事必躬亲的行事风格,行业内皆有耳闻。卸任董事长,能够将他从日常管理中解放出来,全身心投入到AI技术和新产品的研发中。并且,基于蔡浩宇第一大股东的身份并未改变,提前退休和内部不和的言论,并没有多少依据。

    

与此同时,本次变更中董事会由此前的7人精简为5人,原董事蔡浩宇和栾威退出,新增一名董事王辰。现任董事们分别是王辰、于晨曦、蒋大卫、刘伟、罗宇皓。监事会同样做出调整,原监事金雯怡和王辰退出,新增2名监事刘霄和孙珲。现任监事们分别是刘霄、孙珲、张庆华。 

    

米哈游最有权力的八个人

   

虽然这些高管中,出现了不少我们并不熟悉的新面孔。但要指出的是,他们其实都是在米哈游工作多年的元老级人物,并非来自外部的空降派。

    

董事会中,大伟哥和罗宇皓自不必都说。于晨曦是大伟哥的左膀右臂,参与日常管理并且是米哈游的人事一把手。同时,他也是姬米花、时间结等米哈游子公司的法人。

    

据悉,于晨曦曾就职于腾讯游戏上海,负责搭建过百人项目团队。最最最重要的是,蔡浩宇创业前曾在腾讯游戏上海实习,当时面试的HR正是于晨曦。离开腾讯游戏上海两年后,他正式加入了米哈游,负责人事业务。

    

另一位老董事蒋大卫,曾在EA担任研发工程师,在2014年4月至2015年6月间加入米哈游担任市场总监,后升任《崩坏3》和《崩坏:星穹铁道》两款游戏的制作人。和他同期入职的高管还有曹霞和贺甲,分别担任策划总监和技术总监。

    

至于本次卸任的董事栾威,曾是杭州斯凯网络的副总裁和战投负责人。它是米哈游唯一的外部股东,持股15%。因此栾威实为董事会中的投资人代表。

    

在监事会中,本次卸任的金雯怡是米哈游国际化副总裁,此前曾在FunPlus担任市场与商务负责人。新上任的刘霄和孙珲,均是技术侧的管理者,而由监事变为董事的王辰,则是运营侧的高管。

    

据悉,刘霄为后端服务器负责人,在公司初期就参与了自有服务器的建设,以及与阿里云的深度合作,曾担任原神云游戏技术负责人。此外,米哈游的多项发明专利也都有他的身影。孙珲则是客户端技术负责人,已在米哈游工作了十年以上。

    

至于监事张庆华(CiCi),则是米哈游第一位员工。当时还在广东工业大学动画专业读大四的他,加入了初创的米哈游担任原画师,并兼任了动画、特效、UI等美术工作。因此,他也被玩家们戏称初代岳父。

    

米哈游最有权力的八个人

     

在笔者看来,这些元老高管晋升公司层面名义上的决策层,也代反映出米哈游内部晋升体系在往好的方向发展。米哈游一向以重视校招、敢于启用年轻人才著称。在大伟哥支持,于晨曦主导下,此轮变更有助于后续内部人才晋升。

     

当然,任职何种岗位与实际是否拥有权力,并不能完全划上等号。后续关注的重点是蔡浩宇、金雯怡的动向。他们二人会否再次出现在米哈游公司体系中,值得关注。当然也不能排除,他们会直接出现在米哈游控制下新加坡分公司中。

     

除此之外,笔者还发现了一个有意思的地方,米哈游和上海交大缘分颇深。除了三位创始人是交大校友,高管中的蒋大卫、曹霞和孙珲都毕业于交大。

    

另外在业务层面,米哈游先是与上海交大教授吕宝粮联合成立了零唯一思科技,探索脑机接口。后与交大附属瑞金医院成立联合实验室,在功能性游戏、脑机接口软硬件、数字医疗三个方向进行课题研究。

   

02 暴露问题,解决问题

   

有一点需要明确,蔡浩宇虽然卸下了国内职务,但他在海外的职务并没有发生变化,并且大概率要继续加码。目前,他海外title是HoYoverse的创始人兼CEO。

    

去年2月,米哈游宣布成立海外子品牌“HoYoverse”,并把总部设立在新加坡。新加坡总部将作为全球发行和运营的关键枢纽,统筹管理东京、首尔、蒙特利尔,以及洛杉矶的海外团队,为米哈游的产品开发提供支持。

   

米哈游最有权力的八个人

   

正是从这时开始,蔡浩宇工作地点从上海转移到了新加坡。可由他带队的重点产品《Project SH》(后简称PJSH),却也从这一时期开始暴露问题,如空降兵过多、贸然涉足新品类、新加坡/上海/蒙特利尔/洛杉矶等多地远程开发、管理经验不足等。

   

据悉,PJSH采用国内团队主导、北美工作室协作的形式,各个工作室沟通并不顺畅。同时,团队内大佬很多,这也让决策话语权变得分散。本来一个团队能干的活,被分成几份交给不同的leader。结果几个团队各有各道理,出现了一些重复修改和资源浪费的情况。

    

或许是因为发展迅速爆款不断,市场对米哈游的预期总是很高。但实际上,它仍是一家年轻的公司,在调动全球资源,协调各地工作室等方面没有太多的经验。这一问题在去年的疫情封控下,暴露地更加明显。很多成员的生产资料都不在手边,研发进度远不及预期。

    

米哈游最有权力的八个人

     

此外还有消息称,除了管理不适外,PJSH项目最大的问题在于,蔡浩宇对游戏的Demo玩法不满意,有意推倒重做。这一消息在去年11月成为现实,PJSH宣布项目中止。取而代之是,蔡浩宇从国内拉了一支百人队伍前往新加坡,用半年时间封闭开发出了一版新的Demo,依旧是射击游戏,但风格发生了很大的变化。

   

这是不是让你觉得有些别扭,国内团队却要去新加坡做研发。但这或许正是米哈游哪里跌倒哪里爬起的具体体现。

    

游戏公司在新加坡设立分部并不稀奇,因为新加坡在通信基建、财税政策、国际支付等方面都颇有优势,厂商们多把海外业务的运营、投资、法务等支持性团队放在新加坡。但研发团队则还是集中在北上广深、东京、蒙特利尔这样的游戏高地,因为研发型人才更多。

    

米哈游也是如此,HoYoverse新加坡总部初衷是运营中心,国内和蒙特利尔工作室也在持续招聘人才。与此同时,米哈游还在推动国内员工做跨国研发,以及短中期的出海办公。不少员工收到了可前往新加坡做短期岗的可选项。

    

在笔者看来,米哈游的全球化野望,或许得先从培养全球化的研发能力开始。而全球化的研发能力,首先要让团队有全球化的思维、眼界和经验。让核心团队轮流出海历练,加强他们与海外团队的沟通和协作,可能是快速建立能力的方式之一。

    

03 研发重心转向新加坡?

   

基于此,蔡浩宇卸任国内职务,可能就是为了更好地坐镇新加坡,统筹规划米哈游全球各部门间的结构性调整和人员流转。在此思路下,本次卸任监事的国际化副总裁金雯怡,或许也会将常驻新加坡 。只有在这样的全球研发模式下,PJSH才能成为蔡浩宇心中的下一代产品。

    

至少从目前来看,PJSH似乎已经重回正轨。那么,米哈游未来的其他产品,是否都会采用PJSH的形式呢?目前,米哈游已披露的在研产品还有《绝区零》和《科契尔前线》。

    

其中,进度较快的《绝区零》已可以提供实机试玩,完成度较高。以此反推,该作或是在2019年H2立项,时点上距离全球化研发的契机较远。同时,游戏的核心玩法和目标受众更偏向国内玩家,因此大概率还是以国内团队独自研发。

   

米哈游最有权力的八个人

   

另一款《科契尔前线》则是一款非常神秘的产品。按米哈游以往的习惯,基本是一个子公司对应一款产品。例如天命科技主要负责《原神》,海渊城科技主要负责《崩坏:星穹铁道》,姬米花科技则对应米游社等。

    

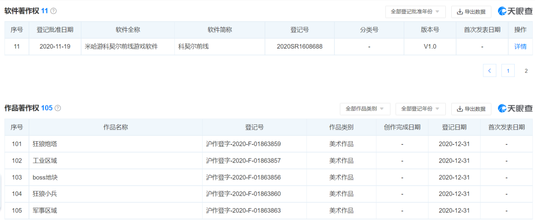
从游戏软著归属看,上海米哈游璃月科技有限公司应是《科契尔前线》的运营主体。在璃月科技作品著作权中,笔者看到了“狂狼兵营”、“狂狼小兵”、“狂狼炮塔”这样系列命名的美术作品,以及“BOSS地块”“工业区域”这类多出现在SLG、战旗、RTS等策略向游戏中的元素。

    

米哈游最有权力的八个人

    

如此看来,《科契尔前线》很有可能是一款RTS游戏。该作在去年6月就拿到了版号,早于《绝区零》和已经上线的《崩坏:星穹铁道》。但它至今都没有任何信息放出,显然在研发上出现了一些问题。也因为如此,市场普遍认为它其实就是已经被砍的《2061》。

   

不过,考虑到目前版号的珍贵程度,笔者并不认为米哈游会直接放弃这一产品,暂时搁置后续重启或许是更可能的措施。这或许意味着,它有可能采用全球研发的模式。

   

一方面,RTS类型在国内受众不多,但在海外则还有不少忠实爱好者,它能在全球研发模式中获益更多。此外,全球研发模式也需要通过具体项目进行试错和磨合,重要性不那么高的《科契尔前线》,或许不失为一个大胆尝试的好机会。

   

在过去的十年中,米哈游的发展堪称传奇,成为了国内游戏行业的第三极。但光鲜的成绩无法掩盖隐患,好在米哈游坚持fail fast,learn fast,从不惧怕问题。

   

本次人事变动会否意味着米哈游研发重心彻底转向新加坡,搭建起全新的全球共研模式,还需要时间来进行检验。

本文源自「私域神器」,发布者:siyushenqi.com,转载请注明出处:https://www.nodgame.com/41328.html

(0)
打赏 微信扫一扫 微信扫一扫 支付宝扫一扫 支付宝扫一扫
上一篇 2025 年 8 月 19 日 下午2:57
下一篇 2025 年 8 月 19 日 下午2:58

相关推荐

发表回复

登录后才能评论
联系我们

联系我们

+86 132-7601-9273

在线咨询: QQ交谈

邮件:siyushenqi@gmail.com

工作时间:周一至周日 9:00-18:30

添加微信
添加微信
WhatsApp Telegram email Email
分享本页
返回顶部

私域神器:一站式全网全渠道拓客营销软件
销售热线:173 5412 3667 (←点击添加微信)